知识资讯  > 知识学习

公司资讯 行业资讯 知识学习
2024优惠活动:迷你版1880元,KIS软件5折,金蝶云6折起!

云会计金蝶收支汇总表如何查询数据

售后技术专线:4006-6500-28

新购有特价、金蝶老客户升级金蝶云产品可以享受5折优惠,送手机、送话费,好礼不断!

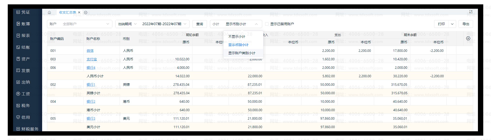
收支汇总表,反应了各个账户的期初余额、收入、支出、期末余额。

一、可以按期间查询,也可按日期查询

Image_20220728202529.png

二、可以按币别小计、也可以按账户类别小计

image.png


X金蝶软件公司_金蝶软件技术服务公司

截屏,微信识别二维码

客服QQ:1250556403

(点击QQ号复制,添加好友)

微信号已复制,请打开微信添加咨询详情!