售后技术专线:4006-6500-28
新购有特价、金蝶老客户升级金蝶云产品可以享受5折优惠,送手机、送话费,好礼不断!
【问题现象】
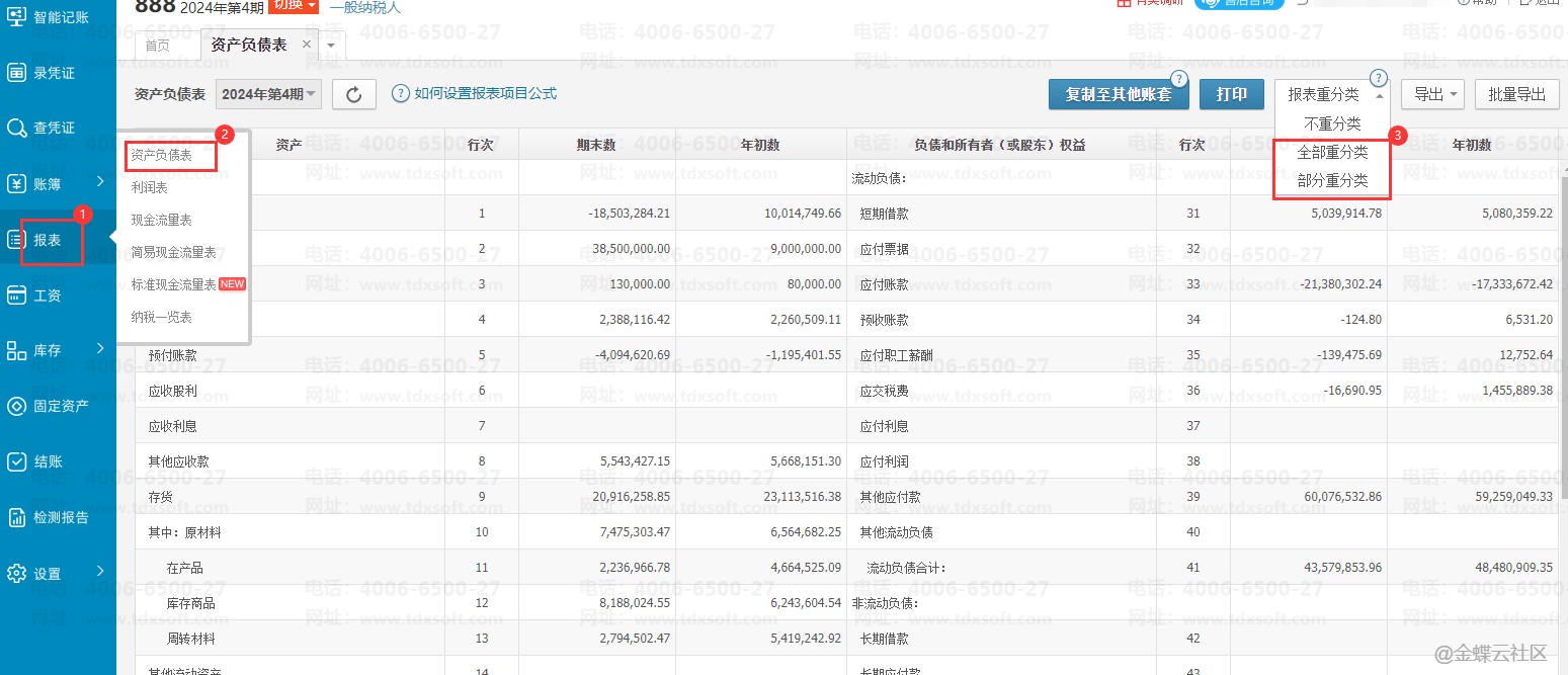
资产负债表上的往来科目为负数,该如何处理
【操作流程】
进入【资产负债表】界面后点击右上角图示的全部重分类或部分重分类即可。
截屏,微信识别二维码
客服QQ:1250556403
(点击QQ号复制,添加好友)