知识资讯  > 知识学习

公司资讯 行业资讯 知识学习
2024优惠活动:迷你版1880元,KIS软件5折,金蝶云6折起!

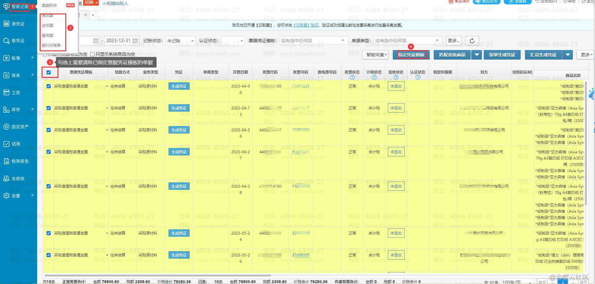
V6.0版本账无忧如何批量清除账套里面已指定的票据凭证模板

售后技术专线:4006-6500-28

新购有特价、金蝶老客户升级金蝶云产品可以享受5折优惠,送手机、送话费,好礼不断!

【操作流程】

进入账套后点击【智能记账】→【进项票】/[销项票】/[费用票】/[银行对账单】进入界面后,可以勾选上已指定的票据凭证模板单据后点击右上角的【指定票据凭证模板】按钮后再点击一下【清除已指定模板】的按钮操作一下即可。


X金蝶软件公司_金蝶软件技术服务公司

截屏,微信识别二维码

客服QQ:1250556403

(点击QQ号复制,添加好友)

微信号已复制,请打开微信添加咨询详情!