售后技术专线:4006-6500-28
新购有特价、金蝶老客户升级金蝶云产品可以享受5折优惠,送手机、送话费,好礼不断!
问题描述:
现金流量表中【支付的税费】项系统自动核算的金额为负数与实际不相符
解决方案:
【操作流程】
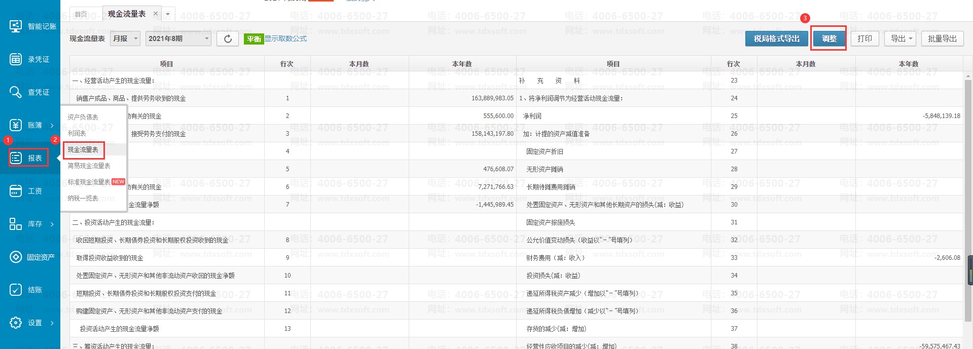
1、点击现金浏览表右上角的【调整】按钮进入表外编辑界面
2、编辑应缴纳各项税金的取数公式
公式设置如下:
3、公式设置完成后点击右上角的【保存】然后再点击【清空并重算】,完成后点击【下一步】
4、加到主表界面后先点击【清空并重算】后再点击【保存】即可
截屏,微信识别二维码
客服QQ:1250556403
(点击QQ号复制,添加好友)