售后技术专线:4006-6500-28
新购有特价、金蝶老客户升级金蝶云产品可以享受5折优惠,送手机、送话费,好礼不断!
同一个商家下了多个订单,需要一起验收和发货
订单中的商品交货日期不一样,需要按照交货日期优先出入库,分批发货
订单中只有部分商品有库存,有库存的商品先发货和验收
1) 销货单增加选择订单功能,支持选择多单合并出库或部分商品出库
点击【选择订单】,默认按单据显示,选择需要合并出库的单据
多张订单的商品合并带出,支持删除部分商品分批出库,大大提升效率
支持多种不同条件筛选,购物车模式选择订单和商品,简单又高效
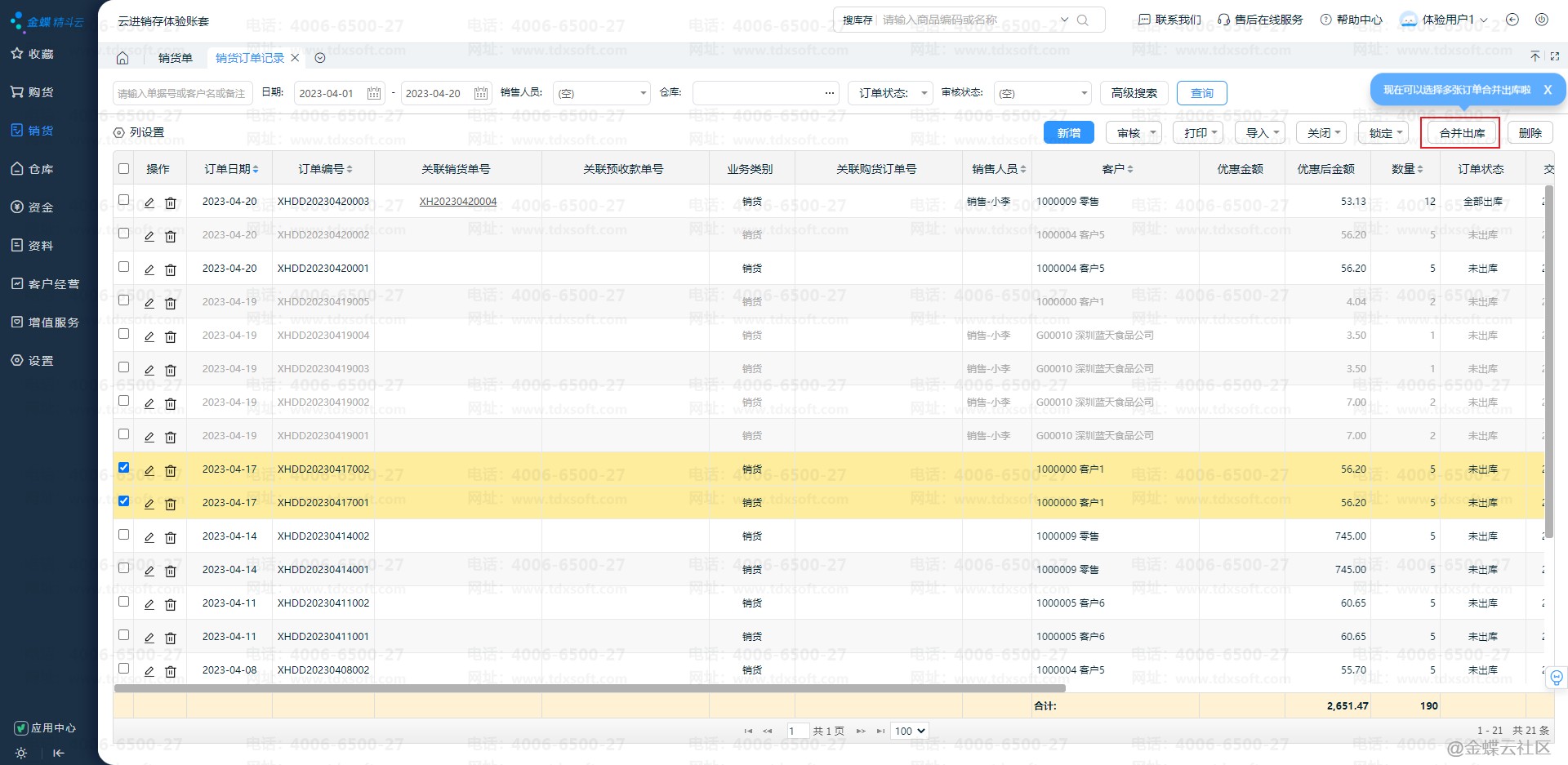
2)销货订单记录增加合并出库功能,支持选择多张订单一起出库
选择相同客户的销货订单,点击【合并出库】
多张销货订单,关联了同一张出库单
1)购货单增加选择订单功能,支持选择多单合并入库或者部分商品入库
点击【选择订单】,默认按单据显示,选择需要合并入库的单据
与销货单逻辑一样,支持多张订单合并,支持删除部分商品分批入库
2)购货订单记录增加合并入库功能,支持选择多张订单一起入库
截屏,微信识别二维码
客服QQ:1250556403
(点击QQ号复制,添加好友)